思途CMS系統是支持自定義模板的,如果您要二次開發,建議在適用于我們的規則下制作模板并上傳,請一定不要在源文件上做調整,因為我們每周四會有以覆蓋形式發布的更新包。
一、模板制作請參考:
1、思途CMS自定義模板開發:http://www.tianfeigroup.com/help/two-show/114.html
2、思途CMS模板語法說明:http://www.tianfeigroup.com/help/two-show/87.html
3、思途CMS自定義標簽開發:http://www.tianfeigroup.com/help/two-show/115.html
4、思途CMS二次開發目錄結構:http://www.tianfeigroup.com/help/show/440.html
5、模板二次開發打包規則和上傳教程:http://www.tianfeigroup.com/help/two-show/122.html
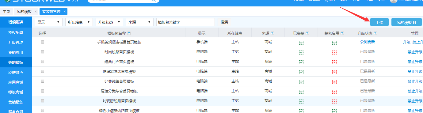
二、模板上傳請參考(以pc版為例):
系統后臺》增值服務》我的模板》安裝包管理

點擊右上角安裝包管理

進入新頁面,點擊右上角中的“上傳”按鈕

點擊“上傳”按鈕后會彈出截圖中的彈框,彈框彈出后請根據彈框內容上傳自定義的模板:
注:模板上傳文件需根據思途官網教程進行操作,http://www.tianfeigroup.com/help/two-show/122.html;您也可以點擊截圖彈框中的小問號查看具體內容和注意事項。

注:如想修改系統中上傳的模板文件,需訪問網站原文件修改,后臺不提供代碼修改。
小米
會員評論